
常州市恒精儀表有限公司
聯(lián)系人:王經理
手機:13801500219
電話:0519-85523096
郵箱:wxbcf@126.com
傳真:0519-83863096
地址:常州市武進區(qū)東青和平村

|
導波雷達物位儀表 |
![]() |
![]() |
![]() |
| 防爆認證 | 防爆認證 | 防爆認證 | 防爆認證 |
| 測 量范 圍 | 30米 | 6米 | 6米 |
| 過 程 連 接 | 螺紋、法蘭 | 螺紋、法蘭 | 螺紋、法蘭 |
| 過 程 溫 度 | -40-250℃ | -40-250℃ | -40-250℃ |
| 過 程 壓 力 | -1.0-40bar | -1.0-40bar | -1.0-40bar |
| 精 度 | ±1mm | ±1mm | ±1mm |
| 頻 率 范 圍 | 100MHZ-1.8GHZ | 100MHZ-1.8GHZ | 100MHZ-1.8GHZ |
| 防爆/防護等級 | EXiaIICT6/IP68 | EXiaIICT6/IP68 | EXiaIICT6/IP68 |
| 信 號 輸 出 | 4…20mA/HART(兩線) | 4…20mA/HART(兩線) | 4…20mA/HART(兩線) |
|
測量范圍 說明: H----測量范圍 ●----空罐距離 B----頂部盲區(qū) E----探頭到罐壁的最小距離 頂部盲區(qū)是指物料最高料面與測量參考點之間的最小距離。 底部盲區(qū)是指纜繩最底部附近無法精確測量的一段距離。 頂部盲區(qū)和底部盲區(qū)之間是有效測量距離。 注意: 只有物料處于頂部盲區(qū)和底部盲區(qū)之間時,才能保證罐 內物位的可靠測量。 |
![]() |
|
安裝指南 下述的安裝指南適用于纜式和桿式探頭測量固體顆粒料和液體物體。同軸管式探頭只適用于液體物體。 安裝位置: 盡量遠離出料口和進料口。 對金屬罐和塑料罐,在整個量程范圍內不碰壁。如果是金屬罐,物位儀表不要安裝在罐的中央。 建議安裝在料倉直徑的1/4處。 纜式探頭或桿式探頭離罐壁最小距離不小于30厘米。 探頭底部距罐底大約30mm。 探頭距罐內障礙物最小距離不小于200mm。 如果容器底部是錐型的,傳感器可以安裝 罐頂中央,這樣可以一直測量到罐底。 |
![]() |
|
|
|
|
右圖為桿式雷達安裝圖,主要用于液體液位的測量。 特點: 可以測量介電常數大于等于1.4的任何介質。 一般用于測量粘度≤500cst而且不容易產生粘附的介質。 桿式雷達最大量程可以達到6米。 對蒸汽和泡沫有很強的抑制能力,測量不受影響。 對于介電常數比較小的液體物料可以采用雙探桿式測量方式,以保障良好的準確測量。 |
![]() |
|
安裝方法 合理安裝能確保儀表長期可靠而精確的測量 儀表可采用螺紋連接,螺紋的長度不要超過150mm,還可以采用在短管上安裝。理想的短管直徑小于150mm,高度小于150mm,若安裝于較長的短管上,應底部固定纜繩或選用對中支架以避免纜繩與短管末端接觸。 |
![]() |
|
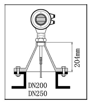
DN200或DN250的安裝于短管內安裝 當儀表需要安裝于直徑大于200mm短管時,短管內壁產生回波,在介質介電常數低的情況下會引起測量誤差。因此,對于一個直徑為200mm或250mm的短管,需要選一個帶“喇叭接口”的特殊法蘭。盡量避免安裝在直徑大于250mm的短管上。 |
![]() |
|
注意! 無論是纜式或桿式若想儀表工作正常,過程連接表面應為金屬。當儀表裝在塑料罐上時,若罐頂也是塑料或其它非導電材質時,儀表需要配金屬法蘭,若采用螺紋連接,需配一塊金屬板。 |
![]() |
|
調試 可以通過三種方式調試: l 通過顯示調整模塊PM l 通過調試軟件SOFT l 通過HART手持編程器 現場編程模塊(PM) PM編程器由6個按鍵和一個液晶顯示屏,可以顯示調整菜單和參數設置。其功能相當于一個分析處理儀表。 |
PM
|

| 介質分組 | DK(ε) | 固體顆粒 | 液體 | 測量范圍 |
| 1 | 1.4…1.6 | -冷凝氣,如N2CO2 | 3m(僅指同軸桿式探頭) | |
| 2 | 1.6…1.9 |
-塑料帶粒子 -白灰石,特種水泥 -糖 |
-液化氣,如丙烷 -溶劑 -氟利昂12/氟利昂 -棕櫚油 |
25m |
| 3 | 1.9…2.5 | -普通水泥,石膏 | -礦物油,燃料 | 30m |
| 4 | 2.5…4 |
-谷物,種子 -石頭 -砂粒 |
-苯,苯乙烯,甲苯 -呋喃 -萘 |
30m |
| 5 | 4…7 |
-潮濕的石頭,礦石 -鹽 |
-氯苯,氯仿 -纖維素噴霧 -異氰鹽酸,本胺 |
30m |
| 6 | >7 |
-金屬粉末 -碳黑 -煤炭 |
-含水液體 -酒精 -液氨 |
30m |